У майбутніх моделях Hyundai може з'явитися кермо з великим вбудованим дисплеєм
Тизер великого екрану на кермі (Фото: carbuzz.com)
Hyundai запропонувала вбудувати приладову панель прямо в кермо. Це дозволить водієві безперешкодно бачити всю важливу інформацію.
Про це повідомляє РБК-Украина Авто з посиланням на CarBuzz.
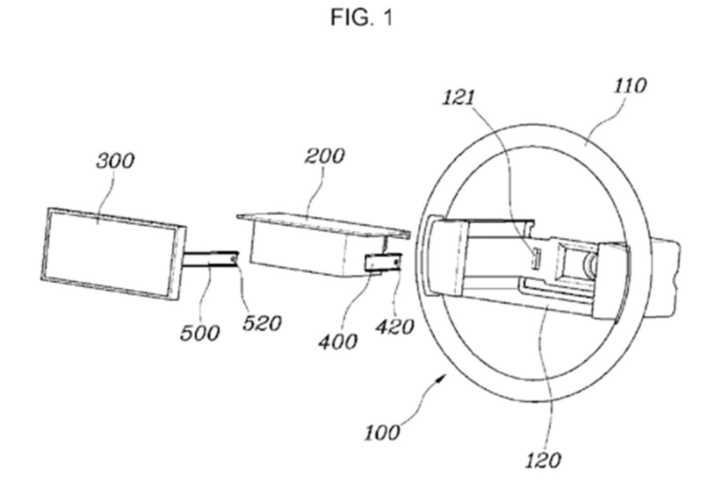
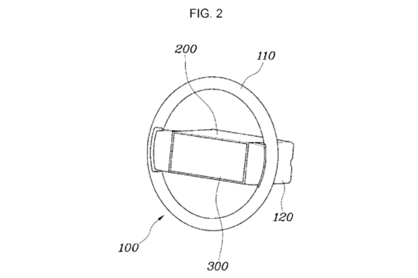
Компанія Hyundai подала патентну заявку в Німеччині на дисплей, встановлений на кермі. На думку інженерів корейської марки, це дозволить відмовитися від традиційної панелі приладів, розмістивши всю важливу інформацію прямо перед очима водія.

Не секрет, що на багатьох моделях при повороті кермо частково перекриває шкали приладів, що вказують швидкість руху, обороти двигуна, запас ходу.
На представлених в патентне відомство кресленнях показано двоспицеве кермо з горизонтально розташованим екраном між руками водія в рекомендованому положенні на "3" і "9" годин. У патенті вказується, що дисплей не впливає на ефективність роботи подушки безпеки, яка розкривається, не пошкоджуючи цифровий дисплей.

Правда, тут виникає проблема - при маневруванні з поворотом керма на великі кути сприйняття інформації погіршується. Можливо, корейцям варто було б звернути увагу на Citroen C4 першого покоління, в якому маточина керма була нерухомою.
Є і ще один істотний недолік запропонованої конструкції – дисплей на кермі знаходиться набагато нижче традиційної панелі приладів. Тому, щоб зчитувати інформацію, водієві доведеться часто відривати погляд від дороги. А це небезпечно.

Hyundai і раніше експериментувала з сенсорними елементами управління замість клавіш на рульовому колесі для управління деякими функціями автомобіля. Проте новий патент описує екран, який відображає інформацію, а не елементи керування.

Концепт Genesis Mint
Преміальна марка корейського концерну Genesis у 2019 році представила концепт Mint з широкоформатним дисплеєм на рульовому колесі. Можливо, патент Hyundai є подальшим розвитком цієї ідеї для її втілення в серійному виробництві.
Однак, в яких саме моделях з'явиться "приборка на кермі", поки не повідомляється.
Нагадаємо, що лінійка Genesis, преміального суббренда Hyundai, поповнилася першим електричним кросовером. Компанія опублікувала характеристики парткетника GV60.