Для будущих внедорожников: BMW придумал революционные двери
Иллюстрация к патенту BMW (Фото: carbuzz.com/)
Изобретательность, как известно не имеет границ. Так, умельцы из BMW придумали задние двери, которые не только распахиваются, но и поднимаются.
Об этом сообщает РБК-Украина со ссылкой на CarBuzz
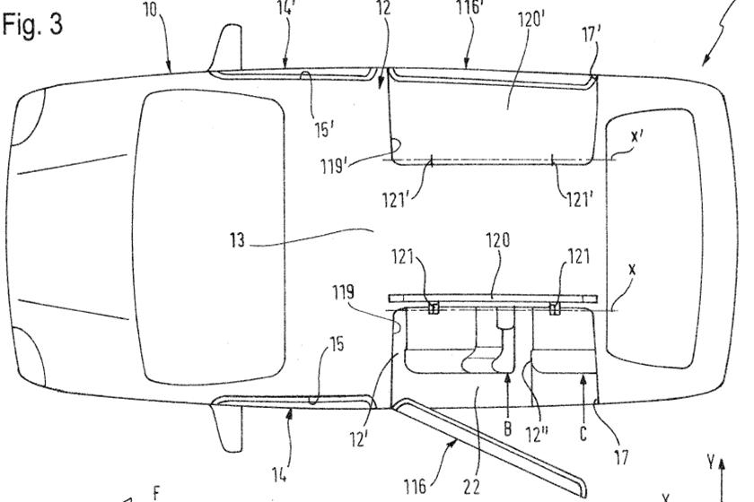
Баварский автогигант утверждает, что новые задумки позволят обеспечить дополнительный комфорт пассажирам при посадке в машину. На патентных изображениях хорошо виден салон большого трехрядного внедорожника.

На одном эскизе показано, что задняя дверь заходит на крышу, на другом – часть крыши поднимается вверх синхронно с открытием задней двери. Убрав часть крыши, задним пассажирам легче попасть на центральное сиденье, доступ к третьему ряду также должен стать проще. Приводной механизм, как сказано в патентной заявке, может быть механическим, гидравлическим или электрическим

Эти необычные конструкции могут найти применение в премиальных автомобилях BMW. В любом случае, стремление баварцев потеснить Mercedes-Maybach в люкс-сегменте видно невооруженным глазом.

Ранее мы сообщали, что BMW и Audi делают ставку на водородные технологии при разработке будущих моделей. При этом от производства электромобилей пока компании не отказываются.